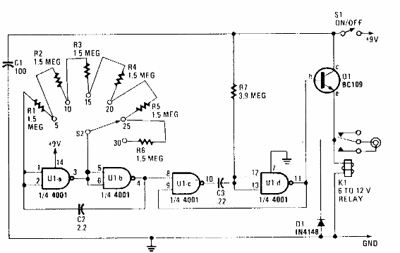
Este antiguo circuito de control del proyector de diapositivas se encontró en un Hands On de los 80. El circuito usa componentes modernos y puede usarse en otras aplicaciones.

Control de proyector
Este antiguo circuito de control del proyector de diapositivas se encontró en un Hands On de los 80. El circuito usa componentes modernos y puede usarse en otras aplicaciones.
