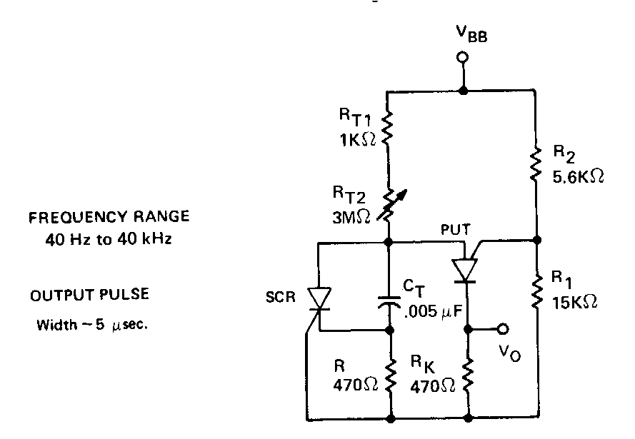
Encontrado en la documentación de Unitrode de la década de 1980, este circuito utiliza PUT, actualmente componentes comunes. El circuito debe ser alimentado con tensiones alrededor de 15 V.

 

Oscilador de 40 Hz a 40 kHz con PUT
Oscilador de 40 Hz a 40 kHz con PUT | Haga click en la imagen para ampliar |