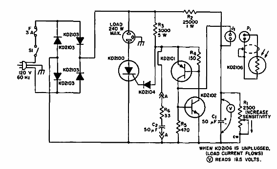
El circuito que se muestra se encontró en un manual RCA de 1967. Se pueden usar componentes equivalentes modernos. El SCR debe estar de acuerdo con la carga controlada.

Interruptor de luz
El circuito que se muestra se encontró en un manual RCA de 1967. Se pueden usar componentes equivalentes modernos. El SCR debe estar de acuerdo con la carga controlada.
