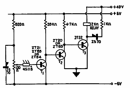
Este circuito se encontró en documentación de Ferranti de 1967. El circuito acciona un relé de 40 V, pero puede adaptarse para funcionar con relés sensibles de menor tensión.

Foto de relé de alta ganancia
Este circuito se encontró en documentación de Ferranti de 1967. El circuito acciona un relé de 40 V, pero puede adaptarse para funcionar con relés sensibles de menor tensión.
