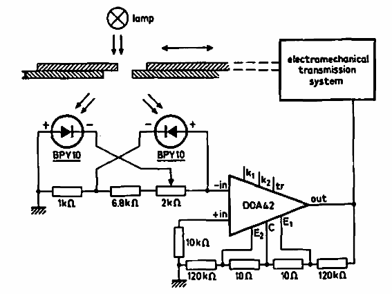
Este circuito fotoeléctrico se encontró en documentación de Ferranti de los años 70. El circuito utiliza uno operacional de esa época. Se pueden usar componentes equivalentes modernos en un nuevo proyecto.

Sensor de desplazamiento
Este circuito fotoeléctrico se encontró en documentación de Ferranti de los años 70. El circuito utiliza uno operacional de esa época. Se pueden usar componentes equivalentes modernos en un nuevo proyecto.
