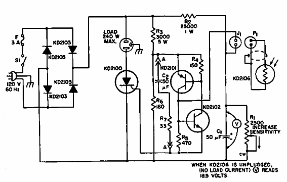
Este circuito es de una publicación de RCA de 1867. Los componentes son de la época, admitiendo equivalentes, incluido el SCR que determina la potencia máxima de la carga.

Interruptor de luz
Este circuito es de una publicación de RCA de 1867. Los componentes son de la época, admitiendo equivalentes, incluido el SCR que determina la potencia máxima de la carga.
