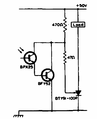
Este circuito se encontró en una documentación de Philips de 1967. El circuito se dispara cuando la luz deja de golpear el fotosensor. Se pueden usar fototransistores equivalentes.

Interruptor de sombra
Este circuito se encontró en una documentación de Philips de 1967. El circuito se dispara cuando la luz deja de golpear el fotosensor. Se pueden usar fototransistores equivalentes.
