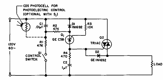
Interruptor sincronizado. Este circuito se encontró en la documentación de General Electric de 1966. Se pueden utilizar componentes equivalentes modernos.

Interruptor sincronizado
Interruptor sincronizado. Este circuito se encontró en la documentación de General Electric de 1966. Se pueden utilizar componentes equivalentes modernos.
