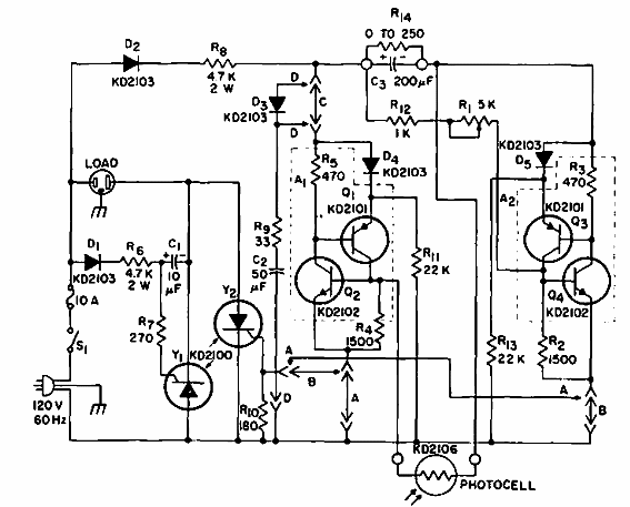
Este circuito se obtuvo en una documentación RCA de la década de 1980. El circuito utiliza componentes de esa época. Estos componentes pueden ser reemplazados por equivalentes modernos.

Interruptor de luz
Este circuito se obtuvo en una documentación RCA de la década de 1980. El circuito utiliza componentes de esa época. Estos componentes pueden ser reemplazados por equivalentes modernos.
