Este circuito se encontró en un Electronics Now de los años 90. La corriente máxima es de 1.5 A, dada por los reguladores. Los reguladores deben estar provistos de disipadores de calor.

Fuente de alimentación de 5 V
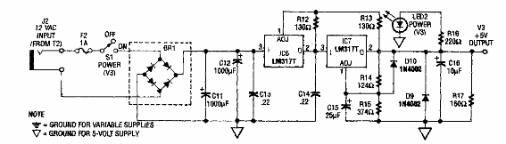
Este circuito se encontró en un Electronics Now de los años 90. La corriente máxima es de 1.5 A, dada por los reguladores. Los reguladores deben estar provistos de disipadores de calor.
