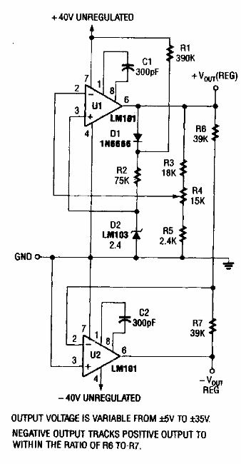
Encontrado en una Popular Electronics de los años 90, este circuito convierte una fuente simétrica de 40 V en una fuente simétrica de 5 V con la corriente máxima dada por los amplificadores operacionales utilizados.

Convertidor simétrico de 5 a 35 V
Encontrado en una Popular Electronics de los años 90, este circuito convierte una fuente simétrica de 40 V en una fuente simétrica de 5 V con la corriente máxima dada por los amplificadores operacionales utilizados.
