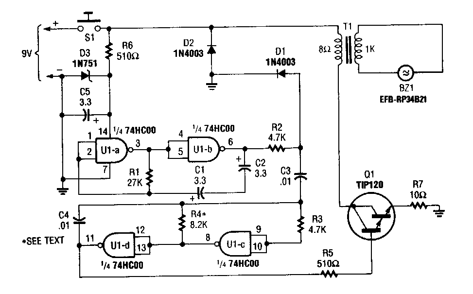
Este potente emisor de sonido utilizado en defensa para intimidar a las personas se encontró en una Popular Electronics de los años 90. El circuito produce un fuerte tono modulado de 3 kHz. La modulación es de 10 Hz.

 

Defensa sónica
Defensa sónica | Haga click en la imagen para ampliar |