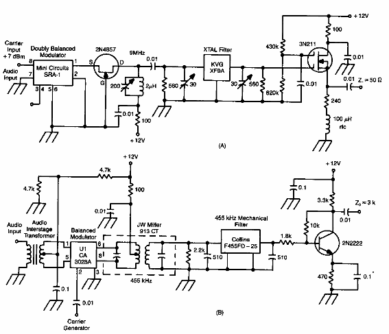
Encontrado en un ARRL Handbook de los años 90, este circuito está destinado a la producción de señales en las bandas laterales para la transmisión en SSB

Generador SSB
Encontrado en un ARRL Handbook de los años 90, este circuito está destinado a la producción de señales en las bandas laterales para la transmisión en SSB
