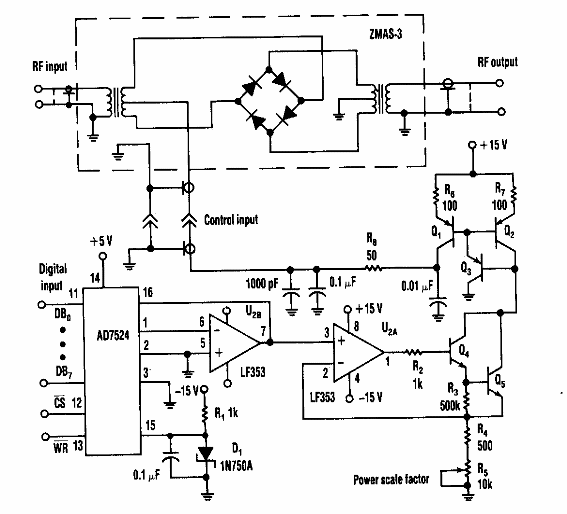
Este atenuador de señal digital se encontró en una Electronic Design de los años 90. El circuito funciona a frecuencias determinadas por las características del circuito atenuador.

Shield atenuador RF
Este atenuador de señal digital se encontró en una Electronic Design de los años 90. El circuito funciona a frecuencias determinadas por las características del circuito atenuador.
