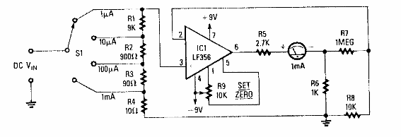
Encontrado en Radio Electronics de los años 90, este circuito requiere resistores de precisión en la red divisoria. La fuente debe ser simétrica.

Microamperímetro de 4 bandas
Encontrado en Radio Electronics de los años 90, este circuito requiere resistores de precisión en la red divisoria. La fuente debe ser simétrica.
