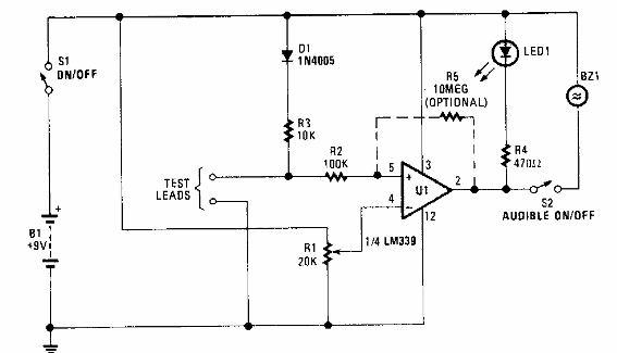
Usando un amplificador operacional, este circuito de Popular Electronics de los años 90 se caracteriza por su alta sensibilidad. R5 se puede agregar para controlar la ganancia.

Prueba de continuidad sensible
Usando un amplificador operacional, este circuito de Popular Electronics de los años 90 se caracteriza por su alta sensibilidad. R5 se puede agregar para controlar la ganancia.
