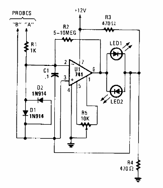
Encontrado en una Popular Electronics de los años 90, este circuito tiene su ganancia dada por R2. Este componente se puede cambiar de acuerdo con la ganancia deseada. La fuente no tiene que ser simétrica.

Sensor de corriente de alta ganancia
Encontrado en una Popular Electronics de los años 90, este circuito tiene su ganancia dada por R2. Este componente se puede cambiar de acuerdo con la ganancia deseada. La fuente no tiene que ser simétrica.
