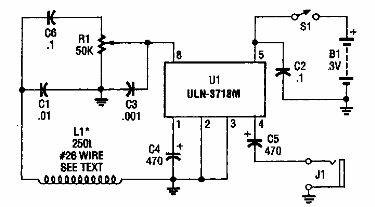
Sugerido por una Popular Electronics de los años 90, este circuito está destinado a recibir silbidos de tormentas eléctricas en el rango de onda por debajo de 20 kHz. La bobina consta de 300 vueltas de alambre 26 en una barra de ferrita.

Receptor VLF



