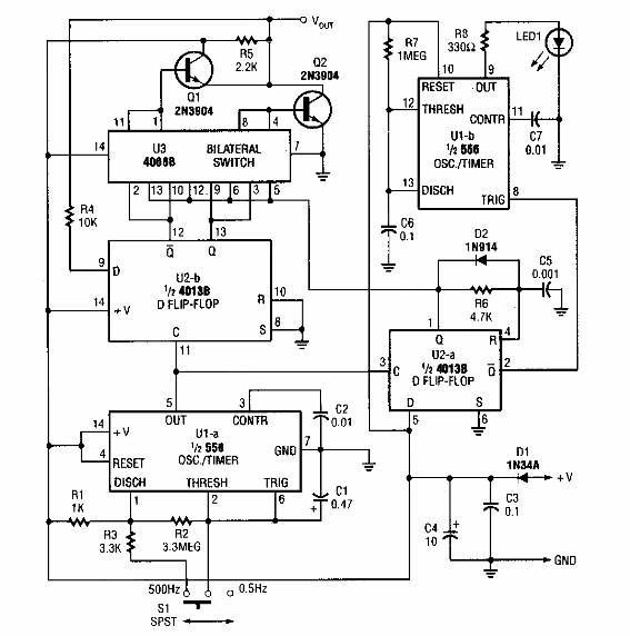
Este circuito, que puede actuar como un shield, se encontró en un PE Hobbyst Handbook de 1990. El circuito genera pulsos lógicos para diferentes tipos de aplicaciones.

Pulsador lógico
Este circuito, que puede actuar como un shield, se encontró en un PE Hobbyst Handbook de 1990. El circuito genera pulsos lógicos para diferentes tipos de aplicaciones.
