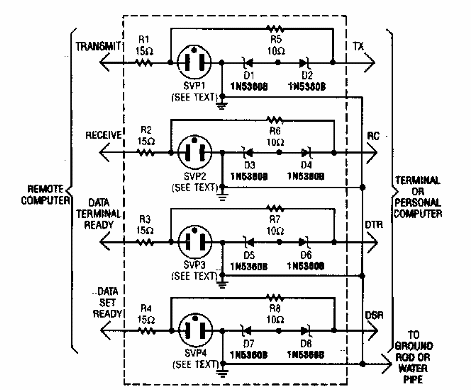
Este circuito es de una vieja Electroics Now. Su propósito es proteger las líneas de fax y módem de dos computadoras de la época. Los supresores son tipos de tiempo.

Protector de módem y fax
Este circuito es de una vieja Electroics Now. Su propósito es proteger las líneas de fax y módem de dos computadoras de la época. Los supresores son tipos de tiempo.
