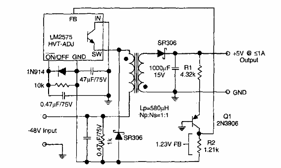
Este circuito para telecomunicaciones se encontró en una publicación de National Semiconductor de los años 90. Está destinado a convertir la tensión de 48 V de líneas telefónicas a 5 V con corrientes de hasta 1 A.

Convertidor de 48 a 5 V
Este circuito para telecomunicaciones se encontró en una publicación de National Semiconductor de los años 90. Está destinado a convertir la tensión de 48 V de líneas telefónicas a 5 V con corrientes de hasta 1 A.
