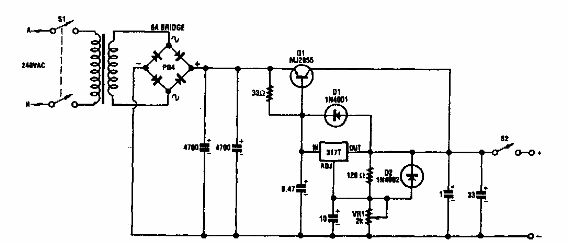
Encontrado en la documentación de Silicon Chip de los años 90, este circuito proporciona una corriente de 3 A y las tensiones van de 0 a 20 V. El circuito integrado y el transistor deben tener disipadores de calor.

Fuente ajustable de 20 V
Encontrado en la documentación de Silicon Chip de los años 90, este circuito proporciona una corriente de 3 A y las tensiones van de 0 a 20 V. El circuito integrado y el transistor deben tener disipadores de calor.
