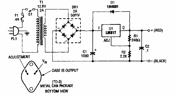
Este circuito puede tener su salida configurada eligiendo las resistencias de R1 y R2 de acuerdo con la fórmula dada al lado del diagrama. Con el componente indicado, la corriente máxima es de 1.5 A, pero con el LM350 puede obtener 3 A.

Fuente configurable LM317



