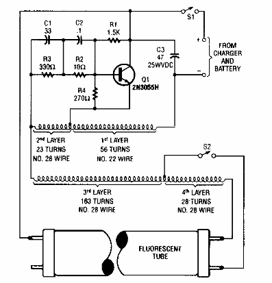
Encontrado en una Popular Electronics de los años 90, este circuito utiliza componentes comunes. Su potencia es de 20 W, lo que requiere cuidado al enrollar los transformadores.

Inversor para fluorescente
Encontrado en una Popular Electronics de los años 90, este circuito utiliza componentes comunes. Su potencia es de 20 W, lo que requiere cuidado al enrollar los transformadores.
