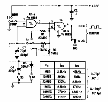
Encontrado en una Popular Electronicsr de los años 90, este circuito puede generar frecuencias de acuerdo con los valores de los componentes utilizados, de acuerdo con la tabla al lado del diagrama.

VFO CMOS 4093
Encontrado en una Popular Electronicsr de los años 90, este circuito puede generar frecuencias de acuerdo con los valores de los componentes utilizados, de acuerdo con la tabla al lado del diagrama.
