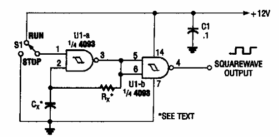
Este circuito disparado, que se encuentra en una Popular Electronics de los años 90, puede usarse como un shield si se alimenta con 5 V. La frecuencia depende del capacitor.

Astable 4093
Este circuito disparado, que se encuentra en una Popular Electronics de los años 90, puede usarse como un shield si se alimenta con 5 V. La frecuencia depende del capacitor.
