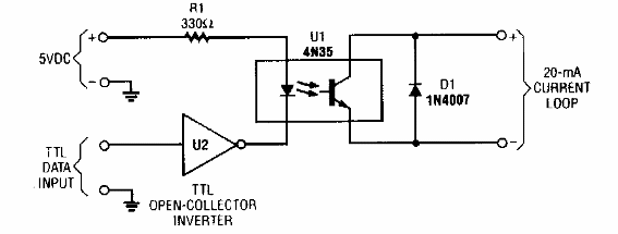
Este circuito se obtuvo en una popular Electronics de los años 90. El circuito es compatible con microcontroladores que funcionan con 5 V.

Shield aislado TTL
Este circuito se obtuvo en una popular Electronics de los años 90. El circuito es compatible con microcontroladores que funcionan con 5 V.
