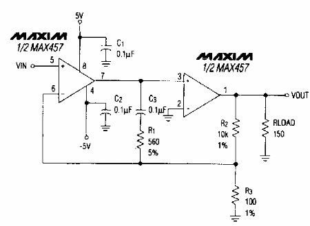
Indicado en la documentación de Maxim de los años 90, este circuito tiene una ganancia de 40 dB y una impedancia de salida de 150 ohms. El producto ganancia x la banda pasante es alto.

Amplificador compuesto de alta ganancia
Indicado en la documentación de Maxim de los años 90, este circuito tiene una ganancia de 40 dB y una impedancia de salida de 150 ohms. El producto ganancia x la banda pasante es alto.
