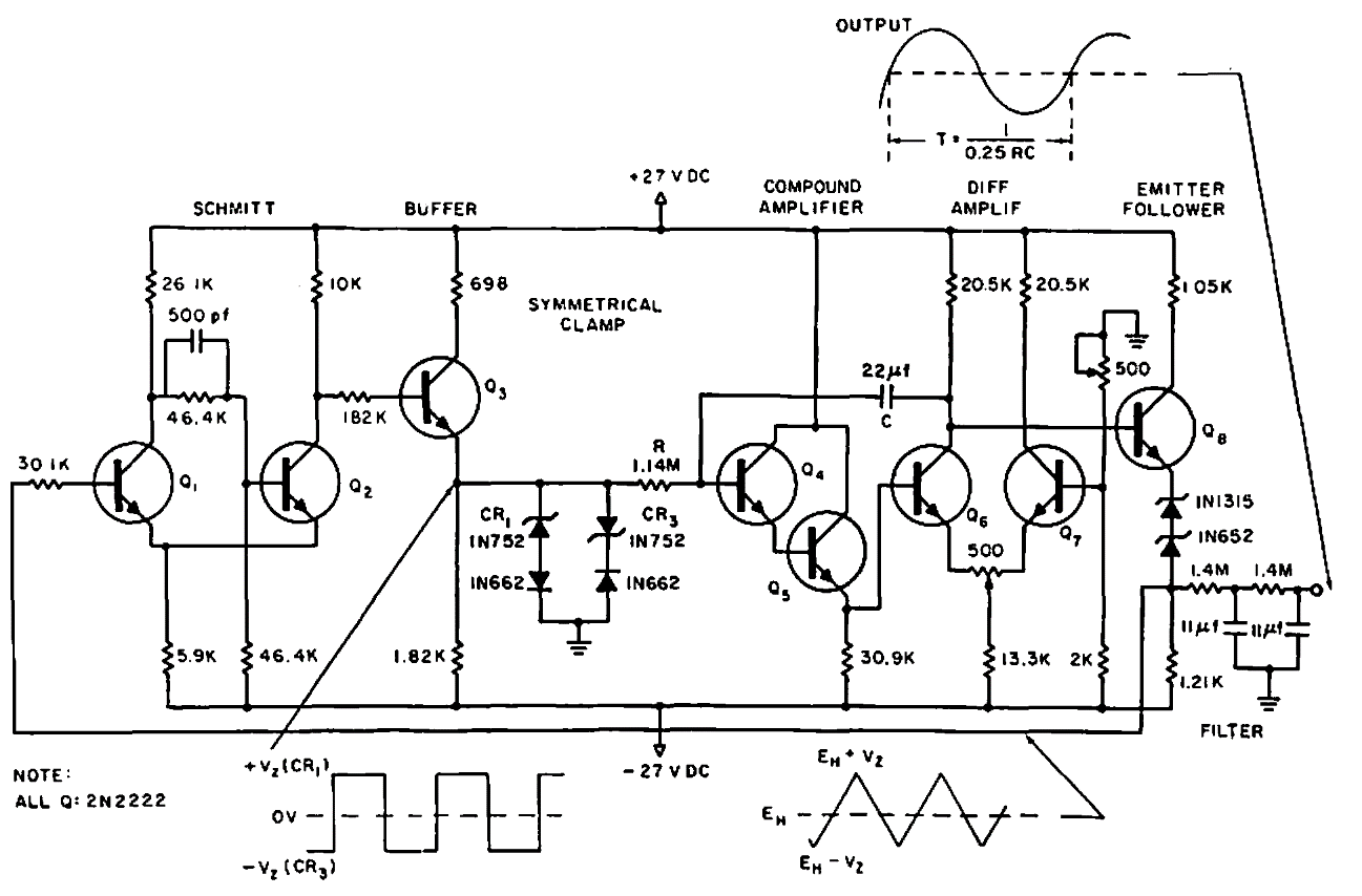
Este oscilador que genera señales por debajo del rango audible (sub-audio o infrasonido) se encontró en una documentación de 1965. Los transistores son de uso general.
En este circuito, una carga se alimenta solo cuando la tensión alcanza un cierto valor. Se pueden...
El circuito integrado LM387, utilizado en este proyecto, no es muy simple de obtener. El circuito,...
Este circuito simula una sirena de baja intensidad, pudiendo ser alimentado con tensiones de 5 a...