Este circuito se encontró en la documentación de 1968 de Motorola. Se puede construir sobre componentes equivalentes actuales. Los diodos del puente y el SCR deben estar de acuerdo con la corriente del motor controlado.

Control para motor de 35 V
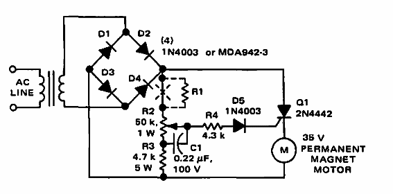
Este circuito se encontró en la documentación de 1968 de Motorola. Se puede construir sobre componentes equivalentes actuales. Los diodos del puente y el SCR deben estar de acuerdo con la corriente del motor controlado.
