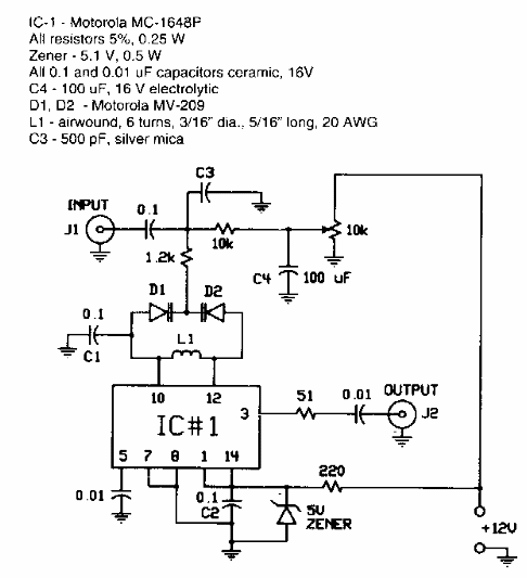
Este circuito se encontró en una RF Design de los años 90. El circuito tiene una frecuencia de salida de aproximadamente 100 MHz. Algunos componentes se pueden reemplazar con equivalentes de actuales.

Modulador de FM
Este circuito se encontró en una RF Design de los años 90. El circuito tiene una frecuencia de salida de aproximadamente 100 MHz. Algunos componentes se pueden reemplazar con equivalentes de actuales.
