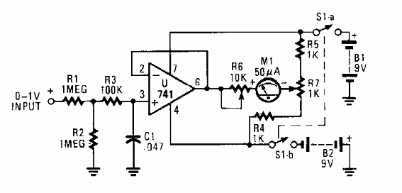
Este simple probador se encontró en una Popular Electronics de los años 90. El circuito funciona con dos baterías de 9 V, ya que requiere una fuente simétrica.

Probador de transistores
Este simple probador se encontró en una Popular Electronics de los años 90. El circuito funciona con dos baterías de 9 V, ya que requiere una fuente simétrica.
