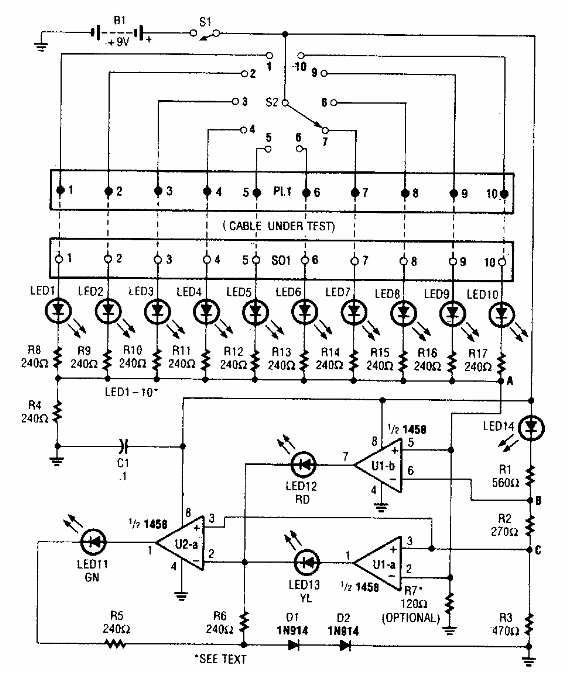
Encontramos este probador de cable en una Popular Electronics de los años 90. El circuito utiliza un conector de acuerdo con el cable que se va a probar. Se pueden hacer adaptaciones para diferentes tipos de cables.

Prueba de cables
Encontramos este probador de cable en una Popular Electronics de los años 90. El circuito utiliza un conector de acuerdo con el cable que se va a probar. Se pueden hacer adaptaciones para diferentes tipos de cables.
