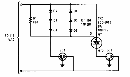
Este circuito suministra una carga en SO1 cuando se alimenta la carga en SO2. El circuito es de una Popular Electronics de los años 90. Los diodos y triacs deben tener corrientes de acuerdo con las cargas.

Sensor de carga de CA
Este circuito suministra una carga en SO1 cuando se alimenta la carga en SO2. El circuito es de una Popular Electronics de los años 90. Los diodos y triacs deben tener corrientes de acuerdo con las cargas.
