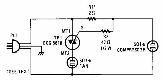
Encontrado en una Popular Electronics de los años 90, este circuito alimenta una lámpara de advertencia cuando se alimenta la carga. La lámpara de advertencia debe tener una corriente de mantenimiento de acuerdo con el triac utilizado.

Sensor de carga



