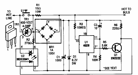
Este circuito de un Electronics Hobbysts utiliza una configuración diferente para un triac. El circuito utiliza un divisor de frecuencia integrado y un acoplador con un fotodiac.

Control con triac
Este circuito de un Electronics Hobbysts utiliza una configuración diferente para un triac. El circuito utiliza un divisor de frecuencia integrado y un acoplador con un fotodiac.
