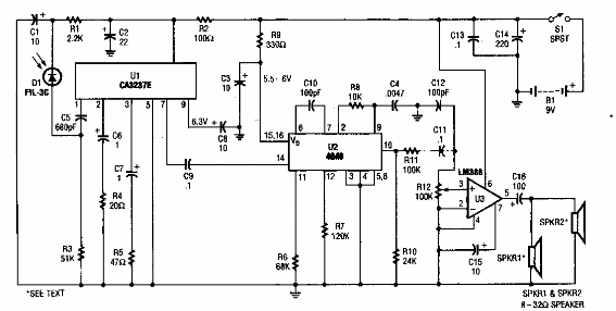
Este es el circuito receptor para el transmisor dado en el circuito anterior. El circuito es de una Popular Electronics de los años 90. El PLL 4046 no es muy fácil de obtener. Ambos circuitos se pueden adaptar para usar el 567.

Receptor de infrarrojos para teléfono



