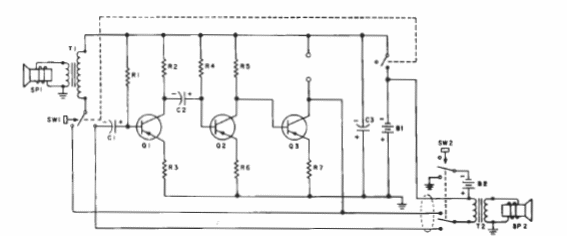
Este intercomunicador por cable se encontró en un manual de transistores Sylvania de 1960. Los transformadores son el tipo de salida que se encuentra en las pequeñas radios de transistores de la época.

Intercomunicador

Intercomunicador
Este intercomunicador por cable se encontró en un manual de transistores Sylvania de 1960. Los transformadores son el tipo de salida que se encuentra en las pequeñas radios de transistores de la época.

