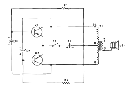
Este circuito oscilador simple fue encontrado en un manual de transistor Sylvania de 1960. El transformador es un tipo de salida para amplificadores pequeños, como se usaba en la época.

Silbato para buque

Silbato para buque
Este circuito oscilador simple fue encontrado en un manual de transistor Sylvania de 1960. El transformador es un tipo de salida para amplificadores pequeños, como se usaba en la época.

