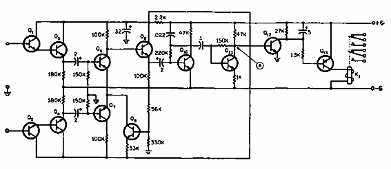
Este circuito se obtuvo en la documentación sobre aplicaciones médicas de 1966. El circuito se utiliza en electromiografía cambiando los electrodos utilizados con el equipo.

Conmutación para EMG
Este circuito se obtuvo en la documentación sobre aplicaciones médicas de 1966. El circuito se utiliza en electromiografía cambiando los electrodos utilizados con el equipo.
