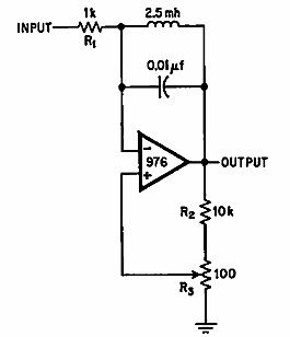
Con este circuito encontrado en la documentación estadounidense de 1969, es posible variar la selectividad (factor Q) de un circuito sintonizado. El operacional es de esa época.

Variador de factor Q
Con este circuito encontrado en la documentación estadounidense de 1969, es posible variar la selectividad (factor Q) de un circuito sintonizado. El operacional es de esa época.
