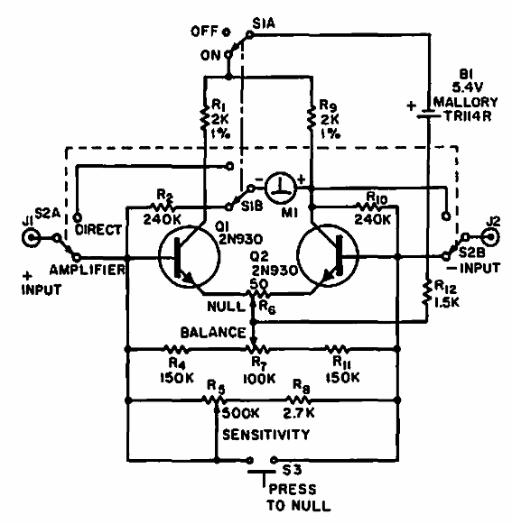
Este circuito se obtuvo en una Electronic Design de 1964. Los transistores son de la época y el instrumento tiene una escala completa de 100 uA.

Microamperímetro diferencial
Este circuito se obtuvo en una Electronic Design de 1964. Los transistores son de la época y el instrumento tiene una escala completa de 100 uA.
