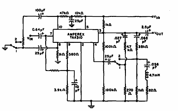
Encontrado en una Electronics World de 1967, este preamplificador utiliza un circuito integrado de esa época, difícil de obtener hoy en día. La frecuencia máxima es de 15 kHz.

Preamplificador de cinta
Encontrado en una Electronics World de 1967, este preamplificador utiliza un circuito integrado de esa época, difícil de obtener hoy en día. La frecuencia máxima es de 15 kHz.
