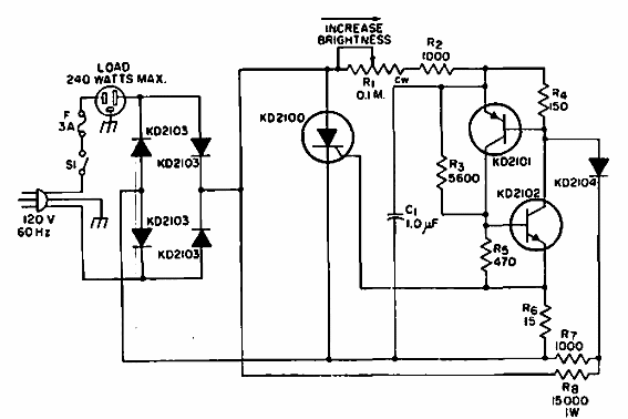
Encontramos este circuito en un manual RCA de SCR de 1967. El circuito utiliza componentes de esa época. Los diodos del puente deben soportar la corriente de la carga controlada.

Dimmer 240 W
Encontramos este circuito en un manual RCA de SCR de 1967. El circuito utiliza componentes de esa época. Los diodos del puente deben soportar la corriente de la carga controlada.
