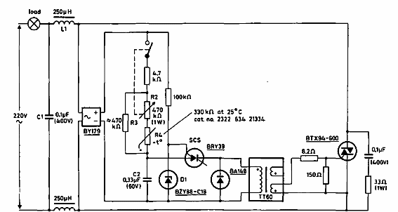
Sugerido por Philips en una publicación de 1970, este circuito utiliza componentes de esa época. No se proporciona información sobre el transformador de disparo.

Dimmer 3000 W
Sugerido por Philips en una publicación de 1970, este circuito utiliza componentes de esa época. No se proporciona información sobre el transformador de disparo.
