La frecuencia de funcionamiento de este circuito es de 465 Hz y la tensión de entrada es de 12 VCA. El circuito es 65% eficiente. Lo encontramos en una publicación de Motorola de 1968.

Inversor de 12 V con 60 W
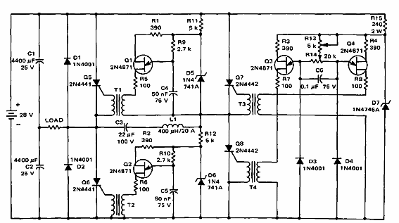
La frecuencia de funcionamiento de este circuito es de 465 Hz y la tensión de entrada es de 12 VCA. El circuito es 65% eficiente. Lo encontramos en una publicación de Motorola de 1968.
