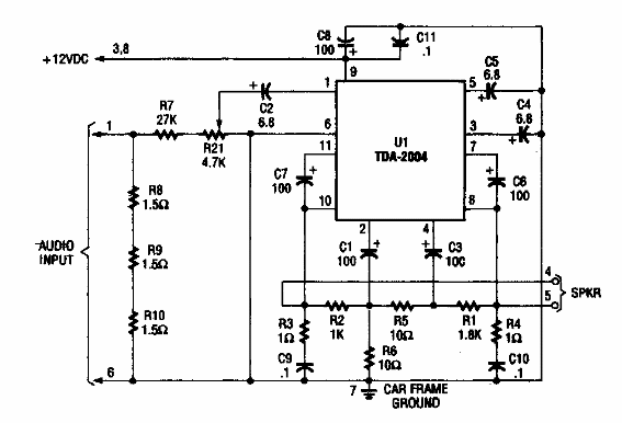
Encontrado en un Manual Hobbyst de 1990, este circuito tiene una potencia que unas pocas decenas de watts sirve como refuerzo para el sonido del automóvil. El altavoz puede ser de 2 o 4 ohms.

Amplificador de audio para el automóvil
Encontrado en un Manual Hobbyst de 1990, este circuito tiene una potencia que unas pocas decenas de watts sirve como refuerzo para el sonido del automóvil. El altavoz puede ser de 2 o 4 ohms.
