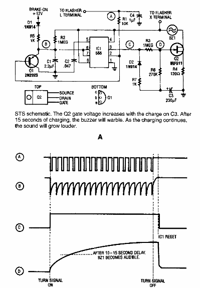
Este circuito de Electronics Now de los años 90 produce una señal inteligente de dirección que tiene una duración controlada. Los componentes siguen siendo comunes hoy en día, algunos admiten equivalentes.

Indicador de dirección inteligente
Este circuito de Electronics Now de los años 90 produce una señal inteligente de dirección que tiene una duración controlada. Los componentes siguen siendo comunes hoy en día, algunos admiten equivalentes.
