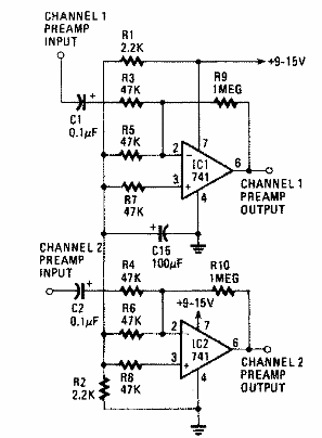
Encontramos este circuito en un Experimenters Handbook de 1967. El circuito se puede implementar con otros operacionales y la fuente no tiene que ser simétrica.

Doble preamplificador
Encontramos este circuito en un Experimenters Handbook de 1967. El circuito se puede implementar con otros operacionales y la fuente no tiene que ser simétrica.
