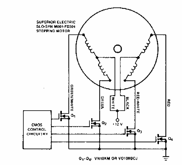
Sugerido por documentación de Siliconix de los años 90, este circuito utiliza MOSFET de potencia de acuerdo con la corriente del motor controlado.

Controlador de motor paso a paso
Sugerido por documentación de Siliconix de los años 90, este circuito utiliza MOSFET de potencia de acuerdo con la corriente del motor controlado.
